乐赢体赢十大真人网

products

产品中心

产品类别

Category

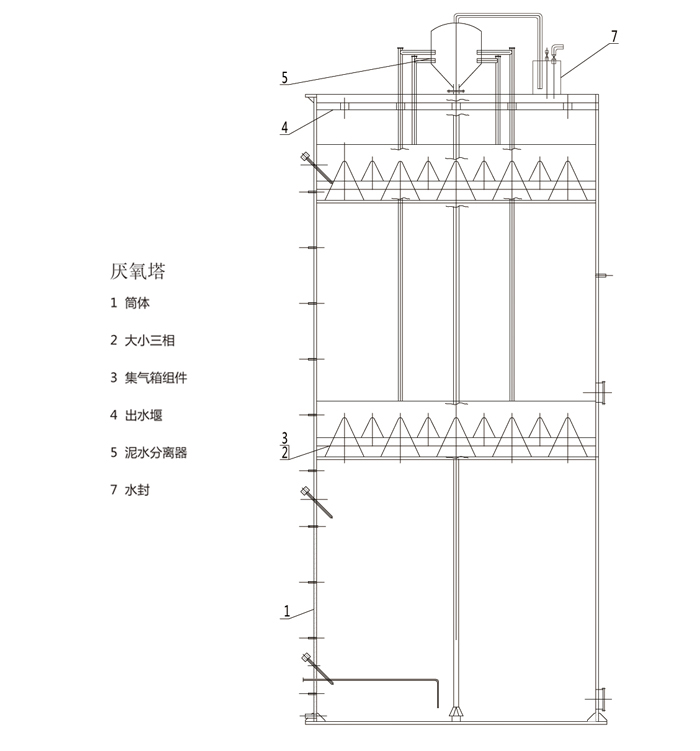
厌氧塔

厌氧塔为水处理关键设备,本公司依托控股公司江苏开磷新材料产业研究设计有限公司已成功设计制造安装多套污水处理装置。

扫一扫

浏览我司移动平台

江苏鑫科天建化工设备制造有限公司 版权所有(C)2024 网络支持 著作权声明 网站地图